相关文章  
  • 一种动植物温室养殖种植方法及装置
  • 双炉口多功能采暖炉
  • 双炉口多功能采暖炉
  • 双炉口多功能采暖炉
  • 便于控制的开关装置
  • 便于控制的开关装置
  • 车携式车衣收放装置
  • 车携式车衣收放装置
  • 车携式车衣收放装置
  • 一种动植物温室养殖种植方法及装置
  •   推荐  
      科普之友首页   专利     科普      动物      植物        天文   考古   前沿科技
     您现在的位置在:  首页>>专利 >>专利推广

    便于控制的开关装置<%=id%>

    项目名称:

    便于控制的开关装置

    项目文件: 发明文摘及技术可行性分析
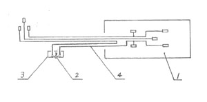
    一般家用电器的使用,往往要通过移动 式多位电源插座来取得电源,而移动式 多位电源插座大多是放置在地面隐蔽处,从而使家用电器常常处于待机状态, 这样既费电又对家用电器使用寿命有一定的损害。如想克服这一缺点,可以使 用带控制开关的移动式多位电源插座,但往往需要蹲到地面来关闭控制开关。 若使用不带控制开关的移动式多位电源插座,就必须拔下电源插头,很不方 便。为克服以上缺点和不足之处,本实用新型提供一种不用费力,便于控制的 开关装置。本实用新型的目的是这样实现的:从带开关或不带开关的移动式多 位电源插座内的单根电源线上或开关两端,外接一控制开关装置。该种控制开 关可以根据实际需要选择不同连接长度的电线,以达到方便主人控制为目的。 这样主人就可以将该控制开关设置于任何方便操作的位置,而不必再蹲到地面 上关闭开关或拔下电源插头。本技术极易实现,目前的移动式多位插座的生产 厂家,仅需要增加几套模具,即可进行批量生产。
    投产条件
    目前的移动式多位插座的生产厂家,现有的厂房、设备既 可。
    成本及利润评估
    所增加部分为:一对插头、插座,一段导 线,一个开关及盒。成本及利润接受 厂家可自行评估。
    转让方式及条件
    独家转让,转让费:50万 元,一次付清。
    备注

    展示时间: 2006-8-7-至-2009-8-6 10:57:54
    图片介绍:

    专利状态:
    申请号: 200520090712.3 申请日:
    公告日: 授权日:
    联系人及单位信息:
    地区: 辽宁省
    联系人: 滕锡山
    地址: 辽宁省大连市甘井子区秀水路73-3-502
    联系电话: 13009434939
    传真:
    邮政编码: 116031
    Email:
    网址:
         

          设为首页       |       加入收藏       |       广告服务       |       友情链接       |       版权申明      

    Copyriht 2007 - 2008 ©  科普之友 All right reserved