相关文章  
  推荐  
  科普之友首页   专利     科普      动物      植物        天文   考古   前沿科技
 您现在的位置在:  首页>>专利 >>专利推广

一种对手机屏上字体进行翻开或提携放大的装置<%=id%>

项目名称:

一种对手机屏上字体进行翻开或提携放大的装置

项目文件: 发明文摘及技术可行性分析
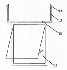
本发明公开了一种对手机屏上字体进行 翻开或提携放大的方法及装置,在手机 屏上覆盖一个透镜,透镜的一端固定,另一端可以活动,不需要对字体进行放 大时,透镜就紧贴在手机屏上,需要对字体进行放大显示时,就将透镜可以活 动的一端翻开或提携,对字体进行放大;这种方法不需要增加手机的厚度就可 以很方便地对手机屏上的字体进行放大,并且可以根据翻开或提携的幅度大小 来自由地调节放大的倍数。装置中过桥采用可以调节伸缩的结构,可根据手机 宽度进行调节,吸盘采用弹性吸盘可以附着在手机两侧。本发明解决了对手机 字体进行放大的问题,并且不需要增加手机的厚度,实现的成本也很低,方便 了视力较差的人及老年人的使用,受到了这类人群的普遍欢迎。
投产条件

成本及利润评估

转让方式及条件
电话联系或面谈。
备注

展示时间: 2006-8-4-至-2007-8-3 9:02:11
图片介绍:

专利状态:
申请号: 200510061491.1 申请日:
公告日: 授权日:
联系人及单位信息:
地区: 浙江省
联系人: 阮立山
地址: 浙江温州平阳昆敖路106号
联系电话: 0577-63732325
传真:
邮政编码: 325400
Email:
网址:
     

      设为首页       |       加入收藏       |       广告服务       |       友情链接       |       版权申明      

Copyriht 2007 - 2008 ©  科普之友 All right reserved