相关文章  
  • 风动机(风力发电领域创新发明)
  • 沥青路面软化翻修机
  • 沥青路面软化翻修机
  • 沥青路面软化翻修机
  • 一种汽车停车场
  • 一种汽车停车场
  • 安全轮
  • 安全轮
  • 安全轮
  • 风动机(风力发电领域创新发明)
  •   推荐  
      科普之友首页   专利     科普      动物      植物        天文   考古   前沿科技
     您现在的位置在:  首页>>专利 >>专利推广

    一种汽车停车场<%=id%>

    项目名称:

    一种汽车停车场

    项目文件: 发明文摘及技术可行性分析
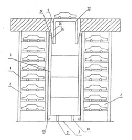
    采用立体仓储式,停放和机械传送方式 的停车场,克服目前停车场的一切缺 点,最大限度地节省土地、空间,是发展停车的唯一方向利用现有成熟技术, 生产简单。凡具有战略眼光的企业家都会随时发现社会潜在的需求,具有超前 意识,把握住商机,在解决社会供需环节中获取最大的企业利润。有汽车就需 要停车位,停车位需要土地。汽车会越来越多,需要的土地也越多。然而,随 着人口的增加,城市的发展可供使用的土地却越来越少,这就形成占地需要 多,而可供占地少的矛盾。这个矛盾会随着社会的发展日益尖锐。而解决这个 矛盾必然会带来具大的社会效益和经济效益。荣获国家专利局授权的实用新型 立体仓储式停车场以创新的思路,独特的思维方式,运用现代成熟的技术巧妙 地设计出了一种新型的停车场。该停车场充分利用空间,最大限度地节约了土 地,把节约土地、空间做到了极至,是解决社会停车难的终极选择。该停车场 可根据预停数量,选址位置具体情况,灵活建设;该停车场克服了目前建成或 在建停车场占地面大、浪费空间、存取不方便、露天式的风吹、日晒雨淋、不 保温、地下式、塔楼式易丢失、易成为犯罪场所的缺点;该停车场通过集约可 建成特大、超大停车场;该停车场建造技术成熟简单,成本相对较低,使用方 便,种种优势成为目前建设停车场的首选。投资该项目需启动资金一百万人民 币。为了实现双赢诚邀各界有识之士合作。
    投产条件
    启动资金100万人民币。
    成本及利润评估
    成本同利润相比,收益可观。
    转让方式及条件
    面谈。
    备注

    展示时间: 2006-7-14-至-2009-7-13 15:58:35
    图片介绍:

    专利状态:
    申请号: 200520019143.3 申请日:
    公告日: 授权日:
    联系人及单位信息:
    地区: 山西省
    联系人: 胡建国
    地址: 山西大同市南郊区人民法院
    联系电话: 13133121097
    传真:
    邮政编码: 037001
    Email:
    网址:
         

          设为首页       |       加入收藏       |       广告服务       |       友情链接       |       版权申明      

    Copyriht 2007 - 2008 ©  科普之友 All right reserved