相关文章  
  • 风动机(风力发电领域创新发明)
  • 沥青路面软化翻修机
  • 沥青路面软化翻修机
  • 沥青路面软化翻修机
  • 一种汽车停车场
  • 一种汽车停车场
  • 一种汽车停车场
  • 养蜂设备
  • 养蜂设备
  • 风动机(风力发电领域创新发明)
  •   推荐  
      科普之友首页   专利     科普      动物      植物        天文   考古   前沿科技
     您现在的位置在:  首页>>专利 >>专利推广

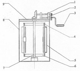
    养蜂设备<%=id%>

    项目名称:

    养蜂设备

    项目文件: 发明文摘及技术可行性分析
    本实用新型是一套机械取蜂王浆和机械 移殖蜂王幼虫的装置,取代移虫取浆的 传统手工操作。从而减轻劳动强度,提高工作效率和经济效益,并提高王浆卫 生质量品位,它是在原摇蜜机基础上进行改进,与移虫盒取浆盒配合使用,实 现一机三用。
    投产条件
    凡能制造普通摇蜜机的厂家均能生产。
    成本及利 润评估
    成本在原摇蜜机基础上增加30-50元成本,每台可获利30-50 元。
    转让方式及条件
    一次性转让,20万元转让费。
    备 注

    展示时间: 2006-7-14-至-2009-7-13 15:57:28
    图片介绍:

    专利状态:
    申请号: 200520017610.9 申请日:
    公告日: 授权日:
    联系人及单位信息:
    地区: 浙江省
    联系人: 何世钧
    地址: 浙江省舢市檀树北区43幢77-104
    联系电话: 0580-2998131
    传真:
    邮政编码: 316000
    Email:
    网址:
         

          设为首页       |       加入收藏       |       广告服务       |       友情链接       |       版权申明      

    Copyriht 2007 - 2008 ©  科普之友 All right reserved