相关文章  
  • 利用微波技术制备纸浆的方法
  • 利用微波技术制备纸浆的方法
  • 利用微波技术制备纸浆的方法
  • 墙体保温隔热用预制聚氨酯复合板
  • 墙体保温隔热用预制聚氨酯复合板
  • 墙体保温隔热用预制聚氨酯复合板
  • 活叶式插座
  • 活叶式插座
  • 普通
  • 普通
  •   推荐  
      科普之友首页   专利     科普      动物      植物        天文   考古   前沿科技
     您现在的位置在:  首页>>专利 >>专利推广

    活叶式插座<%=id%>

    项目名称:

    活叶式插座

    项目文件: 发明文摘及技术可行性分析
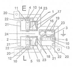
    该专利申请涉及到插座类,其结构是由 活动接触片连接(套)在轴,用薄铁片做 成轴套并套住轴,利用轴弹簧的弹力,推动活动接触片来夹住插头。其中,切 口围圈结构将轴套、活动接触片支承、固定夹、接线端子等做成了一体化结 构。该专利申请的技术特点是:1)夹插头接触性能良好、耐久、减少放电火 花损坏。2)总体结构的体积,比传统的插座缩小了。3)因内部冲压部件多 出几个,成本比传统的插座有上升(粗略估计10%~30%)。3)但是生 产工艺简单,任何人都可以轻易完成大批量生产。市场分析:Market analysis.1)同传统的插座相比,其性能对比优势很明显又直接。2)该产品 是,人人都用而且几乎每天都在用,所以其应用普及范围很广。3)市场普及 过程费用低,也可以说;不需要什么宣传广告,而靠自身的明显又直接的性能 对比优势和众人的广泛使用普及率,能在短时间内在市场上普及传播。4)维 权费用高,因为人人都可以简单轻易进行批量化生产,而且其市场又广,对仿 造侵权防范有难度。5)因该产品靠自身优势能在短时间内普及传播到很广的 市场上。不管是穷人或富人,不管是农民或城镇市民,甚至不管是黄皮肤人、 白皮肤人、黑皮肤人,人人都需要用它,而且是几乎每天都要用。所以本人判 断该专利申请技术,将会在广范围的市场上能发挥有效又持久的传播媒体作 用。所以该产品只要控制管理好《品牌商标》独家贴付使用的话,其广告传媒 速度、范围及持久(20年发明专利保护时间)方面的市场价值是相当看好 的。该专利申请人也将会致力于寻找商标贴付使用权转让方面的合作伙伴。
    投产条件
    请意向者自行评估。
    成本及利润评估
    同 普通插座相比,成本大概估计上升30%。
    转让方式及条件
    1)寻 求社会融资,或1万、或2万、或10万、或100万都可以, 均高利息回报,或 优先考虑委托加工厂商。2)暂时不考虑技术股份合作或技术转让。3)自行开 发设计多品种、商标,寻可靠厂商进行委托加工生产。
    备注
    谢绝中介服务!
    展示时间: 2006-4-4-至-2009-3-20 16:40:17
    图片介绍:

    专利状态:
    申请号: 200410070325.3 申请日:
    公告日: 授权日:
    联系人及单位信息:
    地区: 广东省
    联系人: 蔡男浩
    地址: *
    联系电话: 13711968988,0467-5566701(谢绝中介服务)
    传真:
    邮政编码: 100710
    Email: [email protected], [email protected]
    网址:
         

          设为首页       |       加入收藏       |       广告服务       |       友情链接       |       版权申明      

    Copyriht 2007 - 2008 ©  科普之友 All right reserved