相关文章  
  • 一类触杀型无毒快速杀虫剂
  • 一类触杀型无毒快速杀虫剂
  • 城市景观公益商业广告宣传暨茶舍等多功能转动塔亭
  • 城市景观公益商业广告宣传暨茶舍等多功能转动塔亭
  • 城市景观公益商业广告宣传暨茶舍等多功能转动塔亭
  • 太阳能集热塔
  • 太阳能集热塔
  • 可移动的立体停车场
  • 可移动的立体停车场
  • 可移动的立体停车场
  •   推荐  
      科普之友首页   专利     科普      动物      植物        天文   考古   前沿科技
     您现在的位置在:  首页>>专利 >>专利推广

    太阳能集热塔<%=id%>

    项目名称:

    太阳能集热塔

    项目文件: 发明文摘及技术可行性分析
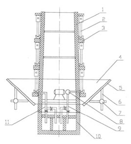
    传统的一家一户式太阳能热水器,由于 集热管数量少,容量小,供热能力不能 满足住宅小区连片供热和取暖的要求,同时热水储罐放在室外,散热大,不利 于热量储存。“太阳能集热塔”有较大的供热能力和热量储存能力,热效率 高,可满足大面积建筑物对太阳能热水和取暖要求,而且不破坏建筑物原有结 构和美观,容易实现太阳能与建筑一体化的理念,是太阳能事业的发展方向。 太阳热利用技术是充分体现环保和节能的重要手段,太阳能的潜力很大,是人 类最持久和未来的现实能源。本专利将太阳能事业在发展过程中的先进经验, 先进产品和存在的问题,用科学的理论知识和经验加以完善整合,并辅以其他 行业的专业知识,整理出一套行之有效,能大规模开发的专利技术,所以在实 施过程中安全可靠,无须中试阶段,是一种无风险投资,本专利实际上是中央 热水系统,其特点:一.易于与周围建筑群和谐协调,二.节能显著, 三.热损失 小. 四.能储热,五.热管可抵抗-30度的低温, 六.热交换效率高,七.热管末端高 温不结垢(另有专利), 八.水温可自动调节,九.有阳光跟踪装置, 十.水 (热)容量大,可以满足热水和采暖需要, 十一.占地面积小,与传统的工程热 水比,在同样受热面积的情况下为其二十分之一。经济效益与社会效益显著, 按10000平米的建筑物计,每年取暖和热水的费用可节省72万元,减少污染物降 低废气,废水和废渣的排放。
    投产条件
    房地产企业和其他宾馆酒店,及一切需用取暖和生活热水 的单位,有意愿利用 太阳能以节省经常巨大的能源费用和保护环境者,均可委托拥有本专利的公司 进行设计施工,拥有本专利的公司即可承担此业务。
    成本及利润评估
    拥有本专利的公司,只需向工商局登记注册,经批准,仅需提供劳力 和技术服 务。无需其他经济投入,一般的利润与普通建筑公司或建设集团相同。即只要 有业务,就会有利润,利润一般在占总投资的20%-30%(稳赚)。其他公司不能 参与,只有拥有专利的公司可施工,因属国家保护(独赚)。
    转让方式 及条件
    本专利的实施,只牵扯到企业的能力和实力,因此不论何种企 业,因本专利的 塔体用混凝土,砖石结构和玻璃钢等材料均可制作,及设备,由热泵制冷机 等,故太阳能公司,建设集团,玻璃钢企业以及空调制冷企业均可以接受转 让,但有一个条件:本人必须是以上接受转让的公司,在实施该工程的技术主 要参与者。以合同协商的方式加以确认。若该专利能成功获得示范,我相信在 2008的北京奥运会和青岛奥帆赛,以及2010的上海世博会的建设项目中,均有 可能获得工程施工的入场券。
    备注

    展示时间: 2006-2-27-至-2009-2-20 10:43:27
    图片介绍:

    专利状态:
    申请号: 200420099240.3 申请日:
    公告日: 授权日:
    联系人及单位信息:
    地区: 山东省
    联系人: 陈伯文
    地址: 山东省青岛市金口二路46号甲楼402户
    联系电话: 0532-82868701
    传真:
    邮政编码: 266003
    Email:
    网址:
         

          设为首页       |       加入收藏       |       广告服务       |       友情链接       |       版权申明      

    Copyriht 2007 - 2008 ©  科普之友 All right reserved