相关文章  
  • 手机新型样式(屉式手机)
  • 手机新型样式(屉式手机)
  • 甲基苯并三氮唑钾盐的合成方法
  • 甲基苯并三氮唑钾盐的合成方法
  • 甲基苯并三氮唑钾盐的合成方法
  • 全自动分仓自流式太阳能热水器
  • 全自动分仓自流式太阳能热水器
  • 全自动分仓自流式太阳能热水器
  • 一种便携式微型机动车
  • 城镇沼气发生器
  •   推荐  
      科普之友首页   专利     科普      动物      植物        天文   考古   前沿科技
     您现在的位置在:  首页>>专利 >>专利推广

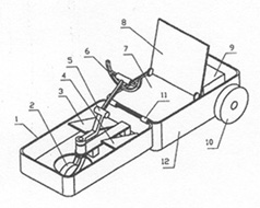
    一种便携式微型机动车<%=id%>

    项目名称:

    一种便携式微型机动车

    项目文件: 发明文摘及技术可行性分析
    本车涉及的单人或双人代步用交通工 具,具有体小便携,易停放,保管,其动力 装置和轮子安装在可开合的箱体上,箱体上设有椅子,箱体结构适合人力搬运, 车重在30kg以内,运行时速10-60km。
    投产条件
    具备生产摩托车发动机和铸造壳体的企业均可单独生产, 或者组合生产。
    成本及利润评估
    每辆车生产成本2000元以内, 出厂价4000元/辆,以卖出一万辆计算,毛利润每 年4000万元。
    转让方式及条件
    一、专利卖出价500万元;二、以 专利入股,另收300万元专利费。
    备注

    展示时间: 2005-6-27-至-2008-6-26 9:40:09
    图片介绍:

    专利状态:
    申请号: 200420022808.1 申请日:
    公告日: 授权日:
    联系人及单位信息:
    地区: 安徽省
    联系人: 林峰
    地址: 安徽阜阳市清河东路7号市农行
    联系电话: 0558-2552920 13905581393
    传真:
    邮政编码: 236032
    Email:
    网址:
         

          设为首页       |       加入收藏       |       广告服务       |       友情链接       |       版权申明      

    Copyriht 2007 - 2008 ©  科普之友 All right reserved