相关文章  
  • 节能节时烧水壶
  • 节能节时烧水壶
  • 天然气综合处理装置
  • 天然气综合处理装置
  •   推荐  
      科普之友首页   专利     科普      动物      植物        天文   考古   前沿科技
     您现在的位置在:  首页>>专利 >>专利推广

    天然气综合处理装置<%=id%>

    项目名称:

    天然气综合处理装置

    项目文件: 发明文摘及技术可行性分析
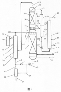
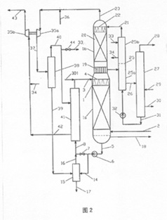
    天然气是世界上大规模发展的清洁能 源,也是中国21世纪能源开发的重点。天然 气生产、运输与加工,都需要脱除其中所含水分;而天然气经深度加工提取其中 所含的轻油,可用作化工原料,其价值又远高于作为燃料的天然气本身。目前世 界上天然气脱水与轻油分离这两种工艺分别用两套设备进行。由于建设两套设备 的投资高昂,大量天然气只能在脱水后输送作为燃料,只有少量天然气得到加工 处理,从而大部分轻油随天然气烧掉,浪费资源。这种情况对于经济迅速发展的 中国,更加不能容忍。本发明融合国际上最先进的冷冻脱水与吸收技术,在同一 套设备内可以完成天然气脱水与分离的双重任务,从而充分利用资源。不仅大大 降低投资成本,而且设备体积小重量轻,更加适合边远地区与海上平台使用。本 发明还可用于其他气体的脱水,其性能也优于同类产品,市场十分广阔。初步估 计其潜在市场规模,“十五”期间国内约为20亿元人民币,国外约为30亿美元。 本发明并在美国申请专利,已于2003年1月15日经美国专利局实审批准,随即正 式颁布为美国专利。发明人在中国有长期科技工作经验,预计实现该专利所需的 主要设备与关键技术,经努力后基本上可在国内解决,更利于打开国内外市场。
    投产条件
    在国内具有石油工业设备、重化工设备、气体干燥设备、 空调冷冻设备、或空气 分离设备的制造能力,并持有相当于国际ISO9000质量管理证书的制造厂家,均 有条件生产,无需大量添置新设备。
    成本及利润评估
    批量生产 (年产10套以上)后,如仅考虑其中气体脱水部分,当其售价与进口撬装 甘醇脱水器相当时,估计利润率在20%左右。如用于同时分离轻油,其利润更 高,但国内外并无同类产品可资比较;如仅按回收轻油的附加价值计算,对于中 等轻油含量的天然气(~5%体积),其设备总投资可望于2-3年内全部回收,经济 效益极大。
    转让方式及条件
    发明人以支援祖国建设为主要目 标,希望将此项国际先进技术转让给中国一家或 几家具有开发中国自主知识产权并进军国际市场志愿与能力的企业,使该项先进 技术能够用中国品牌以最快速度占领国内外市场。具体转让方式灵活,可根据有 志于此的中国企业的具体条件商定。
    备注

    展示时间: 2005-3-30-至-2008-3-14 15:24:17
    图片介绍:

    专利状态:
    申请号: 01124271.x 申请日:
    公告日: 授权日:
    联系人及单位信息:
    地区: 北京市
    联系人: 吕应运
    地址: 北京市海淀区清华大学能科楼核研院
    联系电话: 010-62783655
    传真:
    邮政编码: 100084
    Email:
    网址:
         

          设为首页       |       加入收藏       |       广告服务       |       友情链接       |       版权申明      

    Copyriht 2007 - 2008 ©  科普之友 All right reserved