相关文章  
  • 电压力锅及电煎药器
  • 电压力锅及电煎药器
  • 路桥防水涂料的制作方法
  • 路桥防水涂料的制作方法
  • 路桥防水涂料的制作方法
  • 吟龙磬
  • 吟龙磬
  • 一种治疗软组织畸形的中药
  • 一种治疗软组织畸形的中药
  • 一种治疗软组织畸形的中药
  •   推荐  
      科普之友首页   专利     科普      动物      植物        天文   考古   前沿科技
     您现在的位置在:  首页>>专利 >>专利推广

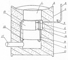
    节能燃水喷炉灶<%=id%>

    项目名称:

    节能燃水喷炉灶

    项目文件: 发明文摘及技术可行性分析
    在普通炉灶的基础上,安装一个喷气 包,利用水气延长藕煤的寿命,从而达到节 能的目的。燃水喷火煤炉应用了全新物理及化学原理,根据水在特定的条件下可 以分解成氢气和氧气,氢气燃烧,氧气助燃,即可煤为热源,在水中加入原料, 使水进入炉内释放能量燃烧,从而达到煤气同样效果,它的普及和推广,将直接 威胁液化气市场,普通煤炉将被淘汰,市场前景广阔,预计不久这种炉具将以一 代新潮进入千家万户。功能与效果:火力猛,温度高,节能省时,炉口可喷射 20-30厘米的蹬白色火焰,燃烧时带有呼呼响声,炉内温度高达1000℃,煮饭速 度比液化气还快,以烧开水为例,同样一壶4公斤水,液化气需18分钟,普通煤 炉需29分钟,而喷火煤炉只需9-12分钟,使用方便,干净卫生,成本低。在同等 火力下比普通煤炉节煤30%,其燃料成本仅为液化气的1/4,生产该炉是个人和 乡镇企业投资的好项目。
    投产条件
    一个二十平米的门面,一套电氧焊设备,有条件的有一台 小型转板机即可生产。
    成本及利润评估
    炉灶可大可小,成本却 相差不大,炉灶的利润不一,以直径120cm和140cm的藕煤 为例,直径120cm与140cm的成本一样,但利润却有几十元的差别。
    转让 方式及条件
    转卖,价格面议。
    备注

    展示时间: 2005-3-30-至-2008-3-13 10:54:21
    图片介绍:

    专利状态:
    申请号: 03207998.2 申请日:
    公告日: 授权日:
    联系人及单位信息:
    地区: 江西省
    联系人: 颜志芬 颜德其
    地址: 江西省萍乡市湘东镇和平村
    联系电话: 0799-3370662 13979961201
    传真:
    邮政编码: 337019
    Email:
    网址:
         

          设为首页       |       加入收藏       |       广告服务       |       友情链接       |       版权申明      

    Copyriht 2007 - 2008 ©  科普之友 All right reserved