相关文章  
  • 一种足底保健垫
  • 烤瓷铝单板
  • 烤瓷铝单板
  • 烤瓷铝单板
  • 快速打字键盘
  • 快速打字键盘
  • 快速打字键盘
  • 新型锯架
  • 一种治疗食道癌的药物
  • 一种足底保健垫
  •   推荐  
      科普之友首页   专利     科普      动物      植物        天文   考古   前沿科技
     您现在的位置在:  首页>>专利 >>专利推广

    新型锯架<%=id%>

    项目名称:

    新型锯架

    项目文件: 发明文摘及技术可行性分析
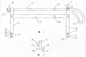
    本实用新型涉及一种钢锯架。现有使用 的大多数钢锯架,锯条的安装时间长,只 能进行单一方式的锯割(下锯),不能进行两种方式的锯割(下锯和平锯),无 法调节锯柄所在平面与架体之间的角度。本实用新型包括锯梁、与之后端连为一 体的锯柄和套接在锯梁上的架体,其特征是所述的锯梁为整体圆杆,其前端螺接 一旋紧螺母,所述的架体包括前架板、后架板和螺接两者的固定板,固定板设在 架体的上部,后架板与锯梁的连接处设有定位杆,锯梁上设有与定位杆配合的定 位凹槽。本实用新型较大提高了锯条的安装速度,达到调节锯柄所在平面与架体 之间角度的目的,实现了两种锯割方式,满足某些特定场合的需要。
    投产条件

    成本及利润评估

    转让方式及条件
    根据许可合同规定范围和权限的不同,专利许可合同可分为5大类。专 利现金交 易。
    备注

    展示时间: 2005-6-17-至-2008-2-21 15:31:48
    图片介绍:

    专利状态:
    申请号: 02288378.9 申请日:
    公告日: 授权日:
    联系人及单位信息:
    地区: 浙江省
    联系人: 吕金杰
    地址: 浙江省新昌县城关镇大墙弄19号
    联系电话: 0575-6036557
    传真:
    邮政编码: 312500
    Email:
    网址:
         

          设为首页       |       加入收藏       |       广告服务       |       友情链接       |       版权申明      

    Copyriht 2007 - 2008 ©  科普之友 All right reserved