相关文章  
  • 一种治疗糖尿病的药物组合物
  • 一种治疗糖尿病的药物组合物
  • 一种治疗糖尿病的药物组合物
  • 增大输出轴动力的装置
  • 增大输出轴动力的装置
  • 先扩孔后注浆成桩法
  • 先扩孔后注浆成桩法
  • 先扩孔后注浆成桩法
  • 连环子母灭火弹(大森林、大草原灭火专用)
  • 连环子母灭火弹(大森林、大草原灭火专用)
  •   推荐  
      科普之友首页   专利     科普      动物      植物        天文   考古   前沿科技
     您现在的位置在:  首页>>专利 >>专利推广

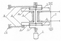
    增大输出轴动力的装置<%=id%>

    项目名称:

    增大输出轴动力的装置

    项目文件: 发明文摘及技术可行性分析
    本发明是在旋转动力传动系统中附加机 构,利用一对预定初拉力的拉伸弹簧拉力 同时对称作用在转动曲轴两轴颈上的行星齿轮机构上,通过相啮合齿轮的转向转 化,形成以输入的动力扭矩力为一侧,弹簧拉力为一侧的力偶转矩,从而实现增 大输出轴动力的目的。本专利方法是一种通用节能技术方法,也可作为一种混合 动力形式。在考虑到本发明的结构装置的动力特性和工作机的载荷特性相适应的 情况下,本发明可用于一次动力机或二次动力机与工作机之间轴动力的配置环 节,起到节能降耗的作用。由于本发明是在常规的旋转动力系统中再引入一种可 持续使用的清洁能源(弹簧弹性能),因而对于现行通用的动力机和工作机的动 力输出能力和动力配置进行系列化改进创造了条件,给研究开发新的节能产品提 供了一种选择。本发明采用的是常规机械零件结构形式,生产制造容易,成本较 低,具有相当高的经济性。
    投产条件
    具有相当规模的机器设备生产规模和新产品的研发能力, 产品能做到一定的市场 份额,能把一项原创技术做强做大。
    成本及利润评估
    在确定研 发某类节能产品时,成本的降低和利润的增长参考以下因素:1、国家 鼓励发展新的能源技术,有优越的政策保障;2、本专利方法涉及的技术简单, 产品研发周期短;3、企业具有较强的制造能力,利用工艺优势可最大限度降低 产品的生产成本;4、系列化产品的发展空间巨大,适合大批量生产经营;5、在 发展生产的同时,开展标准化工作,促进扩大市场份额;6、由于采用新技术 (产品使用只计部分能源费)产品性价比高。综合以上分析,生产成本可做到最 低,经营利润有保障。
    转让方式及条件
    专利权转让或专利实施 许可均可。
    备注

    展示时间: 2005-3-30-至-2008-2-5 16:38:11
    图片介绍:

    专利状态:
    申请号: 02133564.8 申请日:
    公告日: 授权日:
    联系人及单位信息:
    地区: 贵州省
    联系人: 李家华
    地址: 贵州省贵阳市花溪区霞晖路148号-201号
    联系电话: 0851-3861632
    传真:
    邮政编码: 550025
    Email:
    网址:
         

          设为首页       |       加入收藏       |       广告服务       |       友情链接       |       版权申明      

    Copyriht 2007 - 2008 ©  科普之友 All right reserved