相关文章  
  • 轿车用轻便活动篷伞
  • 多功能保健药睡枕(睡垫)
  • 多功能保健药睡枕(睡垫)
  • 多功能保健药睡枕(睡垫)
  • 新型生物抗菌排毒水产饵料添加剂
  • 新型生物抗菌排毒水产饵料添加剂
  • 新型生物抗菌排毒水产饵料添加剂
  • 双环合并、错开口使用结构活塞
  • 一种带SIM锁卡具有锁机功能的手机
  • 轿车用轻便活动篷伞
  •   推荐  
      科普之友首页   专利     科普      动物      植物        天文   考古   前沿科技
     您现在的位置在:  首页>>专利 >>专利推广

    双环合并、错开口使用结构活塞<%=id%>

    项目名称:

    双环合并、错开口使用结构活塞

    项目文件: 发明文摘及技术可行性分析
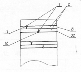
    一种双环合并、错开口使用结构活塞, 其每一 道活塞环槽的上边沿和下边沿均错开各设一个 活塞环定位销,每一活塞环的一个端面上开设 一个定位销缺口,每一道活塞环槽内均以上环 开设定位销缺口的端面向上、下环开设定位销 缺口的端面向下放置两个分别由活塞环槽上下 边沿设置的活塞环定位销定位的活塞环,结构 简单,当活塞环和发动机气缸缸筒磨损而使活 塞环开口间隙增大后,仍能保持气缸的气密 性,延长了活塞环和发动机气缸缸筒的使用寿 命,降低了使用费用,也减少了因更换活塞环 或发动机气缸缸筒而延误使用的时间。
    转让方式及条件
    面议。
    展示时间: 2004-6-11-至-2007-3-7
    图片介绍:

    专利状态:
    申请号: 03240812.9 申请日:
    公告日: 授权日:
    联系人及单位信息:
    地区: 河北
    联系人: 杜明春
    地址: 河北省平乡县河古庙镇董庄
    联系电话: *
    传真:
    邮政编码: 054500
    Email: *
    网址:
         

          设为首页       |       加入收藏       |       广告服务       |       友情链接       |       版权申明      

    Copyriht 2007 - 2008 ©  科普之友 All right reserved