相关文章  
  • 智能座便器全套技术及发明专利
  • 摩托车离心式磨擦传动机构
  • 一种自动装载车
  • 折叠式瓷砖倒角裁剪工作台
  • 一种滑板式道路清障施救车
  • 车用等离子空气净化器
  • 转让程控自动旋转餐桌专利
  • 全自动冰雪清除系统
  • 飞车运输系统
  • 人力三轮车省力器
  •   推荐  
      科普之友首页   专利     科普      动物      植物        天文   考古   前沿科技
     您现在的位置在:  首页>>专利 >>专利推广

    电子书(书籍电脑)<%=id%>

    [专利号]:zlZL200420040944.3 [专利价格]:价优 [转让方式]:面议 [发布日期]:2006-6-7 14:46:15 [点击数]:337 【专利详情】 技术领域:
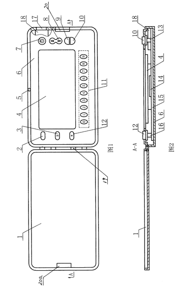
        本实用新型涉及一种书本形式的翻盖式液晶显示电子阅读器技术领域。
        背景技术:
        目前,书店所售的传统书藉均为纸件装订形式,其存在体积、重量较大,手持阅读不便及藏书占用空间较大的问题。随着科技的进步,市场上出现了电子读物光盘,但是,其必须在电脑上阅读,人们外出时携带很不方便,而且还需要具有一定电脑操作能力的人阅读,因此,它无法满足所有人群阅读书的需要,更无法满足人们随时随地随意阅读书的需要,由此,给方方面面带来了诸多不便。
        发明内容:
        本实用新型提供了一种电子书,它将现有的显示屏、芯片、电路板、扬声器、若干个按键及电源组装在书本形式的壳体内,解决了以上问题。
        国内所有书籍版权归该专利。实施中采用电子公知技术将传统的纸件书籍一一转化成芯电语言(电子书)。随之电脑光盘也将被芯电语言所替代,样式新颖、时尚(可在网上下载)携带非常方便,内设中文、外文、编辑、插图等并附加了听读。人们在阅读时,打开上盖,操作按键即可。教育部门可制作复合型,将语文、数学、历史、英语等纳入一机使用,更便于学生携带。为提高社会效益除教育部门外,其它书籍建议设单型本。
        本专利技术应用广泛,市场前景广阔,是天地间未开发的市场,在国内传统文化史上将载入一个新的史策,也是文化产业的重要支柱,开发后能够产生较好社会经济效益。
       
        注:为保护著作权,各书籍的原貌不变,封面字数、印数等开机后一一显示在视屏上。
       
       
        地址:251208 山东省平原县前曹镇袁庄
        专利人:袁凯洲
        电话:13853497571
        【联系信息】 联系人: 袁凯洲 公司名称: 电话: 13853497571 传真: 邮箱: 网址所在省份: 所在城市: 详细地址: 山东省平原县前曹镇袁庄 邮编: 251208
         

          设为首页       |       加入收藏       |       广告服务       |       友情链接       |       版权申明      

    Copyriht 2007 - 2008 ©  科普之友 All right reserved