相关文章  
  • 未来的植树车 等
  • 机器人家庭
  • 生活在月球村
  • 挺进三大洋
  • 黄伯云的科技创新之路
  • 勇攀珠穆朗玛峰
  • 蟑螂捕捉器
  • 防盗信箱
  • 环保能源游乐场
  • 最后的猎人
  •   推荐  
      科普之友首页   专利     科普      动物      植物        天文   考古   前沿科技
     您现在的位置在:  首页>>科普 >>科普杂文

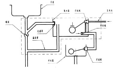
    生活废水再利用装置<%=id%>



      
      通过观察发现,生活中排出的废水中,有很大一部分如漂洗衣物、洗手、洗菜过程中产生的废水并未受到很重的污染,而且有大量的清洁水伴随着废水被排出,白白浪费掉了。因此,完全可以用一个装置将这些水集中起来,用于冲厕所、洗拖把等。
      厨房的水盆和卫生间马桶的冲水箱在不同的高度上,如果利用水盆和冲水箱之间的空间和高度差,安装一个装置,这个装置既能收集水盆排出的废水,又能利用高度差给冲水箱充水,以达到水的二次利用的目的。这就是设计生活废水再利用装置的基本思路。
      该装置的工作原理如图所示。关闭蝶阀,洗手盆中用过的废水,经过V形管进入集水箱。水箱中的水位提高,推动球阀关闭自来水的供应,此时,只能由集水箱中的废水向马桶供水。一旦水盆中断废水供应,而且集水箱中废水已用光,浮球阀就会下落,导通自来水,向马桶水箱供水。而此时由于止回阀的阻断,自来水不能进入集水箱,使集水箱仍保持空的状态。当洗手盆恢复供水时,浮球阀再次被推动,关闭自来水,由集水箱向马桶供水。
      这个装置巧妙地利用浮球阀实现有限选择使用废水的目的。从实验结果看,在水盆和马桶所限定的空间中,装置可以正常工作,而且能够满足一般家庭的使用要求。如果能够适当提高水盆和集水箱的位置,装置向水箱供水的效果将会更好。
      这个装置结构简单,设计合理,投资成本低,适于推广使用。
      
         

          设为首页       |       加入收藏       |       广告服务       |       友情链接       |       版权申明      

    Copyriht 2007 - 2008 ©  科普之友 All right reserved